| Oracle® Database Concepts 11g Release 2 (11.2) Part Number E10713-04 |
|
|
View PDF |
This chapter discusses indexes, which are schema objects that can speed access to table rows, and index-organized tables, which are tables stored in an index structure.
This chapter contains the following sections:
An index is an optional structure, associated with a table or table cluster, that can sometimes speed data access. By creating an index on one or more columns of a table, you gain the ability in some cases to retrieve a small set of randomly distributed rows from the table. Indexes are one of many means of reducing disk I/O.
If a heap-organized table has no indexes, then the database must perform a full table scan to find a value. For example, without an index, a query of location 2700 in the hr.departments table requires the database to search every row in every table block for this value. This approach does not scale well as data volumes increase.
For an analogy, suppose an HR manager has a shelf of cardboard boxes. Folders containing employee information are inserted randomly in the boxes. The folder for employee Whalen (ID 200) is 10 folders up from the bottom of box 1, whereas the folder for King (ID 100) is at the bottom of box 3. To locate a folder, the manager looks at every folder in box 1 from bottom to top, and then moves from box to box until the folder is found. To speed access, the manager could create an index that sequentially lists every employee ID with its folder location:
ID 100: Box 3, position 1 (bottom) ID 101: Box 7, position 8 ID 200: Box 1, position 10 . . .
Similarly, the manager could create separate indexes for employee last names, department IDs, and so on.
In general, consider creating an index on a column in any of the following situations:
The indexed columns are queried frequently and return a small percentage of the total number of rows in the table.
A referential integrity constraint exists on the indexed column or columns. The index is a means to avoid a full table lock that would otherwise be required if you update the parent table primary key, merge into the parent table, or delete from the parent table.
A unique key constraint will be placed on the table and you want to manually specify the index and all index options.
See Also:
Chapter 5, "Data Integrity"Indexes are schema objects that are logically and physically independent of the data in the objects with which they are associated. Thus, an index can be dropped or created without physically affecting the table for the index.
Note:
If you drop an index, then applications still work. However, access of previously indexed data can be slower.The absence or presence of an index does not require a change in the wording of any SQL statement. An index is a fast access path to a single row of data. It affects only the speed of execution. Given a data value that has been indexed, the index points directly to the location of the rows containing that value.
The database automatically maintains and uses indexes after they are created. The database also automatically reflects changes to data, such as adding, updating, and deleting rows, in all relevant indexes with no additional actions required by users. Retrieval performance of indexed data remains almost constant, even as rows are inserted. However, the presence of many indexes on a table degrades DML performance because the database must also update the indexes.
Indexes have the following properties:
Usability
Indexes are usable (default) or unusable. An unusable index is not maintained by DML operations and is ignored by the optimizer. An unusable index can improve the performance of bulk loads. Instead of dropping an index and later re-creating it, you can make the index unusable and then rebuild it. Unusable indexes and index partitions do not consume space. When you make a usable index unusable, the database drops its index segment.
Visibility
Indexes are visible (default) or invisible. An invisible index is maintained by DML operations and is not used by default by the optimizer. Making an index invisible is an alternative to making it unusable or dropping it. Invisible indexes are especially useful for testing the removal of an index before dropping it or using indexes temporarily without affecting the overall application.
See Also:
Oracle Database 2 Day DBA and Oracle Database Administrator's Guide to learn how to manage indexes
Oracle Database Performance Tuning Guide to learn how to tune indexes
A key is a set of columns or expressions on which you can build an index. Although the terms are often used interchangeably, indexes and keys are different. Indexes are structures stored in the database that users manage using SQL statements. Keys are strictly a logical concept.
The following statement creates an index on the customer_id column of the sample table oe.orders:
CREATE INDEX ord_customer_ix ON orders (customer_id);
In the preceding statement, the customer_id column is the index key. The index itself is named ord_customer_ix.
Note:
Primary and unique keys automatically have indexes, but you might want to create an index on a foreign key.A composite index, also called a concatenated index, is an index on multiple columns in a table. Columns in a composite index should appear in the order that makes the most sense for the queries that will retrieve data and need not be adjacent in the table.
Composite indexes can speed retrieval of data for SELECT statements in which the WHERE clause references all or the leading portion of the columns in the composite index. Therefore, the order of the columns used in the definition is important. In general, the most commonly accessed columns go first.
For example, suppose an application frequently queries the last_name, job_id, and salary columns in the employees table. Also assume that last_name has high cardinality, which means that the number of distinct values is large compared to the number of table rows. You create an index with the following column order:
CREATE INDEX employees_ix ON employees (last_name, job_id, salary);
Queries that access all three columns, only the last_name column, or only the last_name and job_id columns use this index. In this example, queries that do not access the last_name column do not use the index.
Note:
In some cases, such as when the leading column has very low cardinality, the database may use a skip scan of this index (see "Index Skip Scan").Multiple indexes can exist for the same table as long as the permutation of columns differs for each index. You can create multiple indexes using the same columns if you specify distinctly different permutations of the columns. For example, the following SQL statements specify valid permutations:
CREATE INDEX employee_idx1 ON employees (last_name, job_id); CREATE INDEX employee_idx2 ON employees (job_id, last_name);
See Also:
Oracle Database Performance Tuning Guide for more information about using composite indexesIndexes can be unique or nonunique. Unique indexes guarantee that no two rows of a table have duplicate values in the key column or column. For example, no two employees can have the same employee ID. Thus, in a unique index, one rowid exists for each data value. The data in the leaf blocks is sorted only by key.
Nonunique indexes permit duplicates values in the indexed column or columns. For example, the first_name column of the employees table may contain multiple Mike values. For a nonunique index, the rowid is included in the key in sorted order, so nonunique indexes are sorted by the index key and rowid (ascending).
Oracle Database does not index table rows in which all key columns are null, except for bitmap indexes or when the cluster key column value is null.
Oracle Database provides several indexing schemes, which provide complementary performance functionality. The indexes can be categorized as follows:
B-tree indexes
These indexes are the standard index type. They are excellent for primary key and highly-selective indexes. Used as concatenated indexes, B-tree indexes can retrieve data sorted by the index columns. B-tree indexes have the following subtypes:
Index-organized tables
An index-organized table differs from a heap-organized because the data is itself the index. See "Overview of Index-Organized Tables".
Reverse key indexes
In this type of index, the bytes of the index key are reversed, for example, 103 is stored as 301. The reversal of bytes spreads out inserts into the index over many blocks. See "Reverse Key Indexes".
Descending indexes
This type of index stores data on a particular column or columns in descending order. See "Ascending and Descending Indexes".
B-tree cluster indexes
This type of index is used to index a table cluster key. Instead of pointing to a row, the key points to the block that contains rows related to the cluster key. See "Overview of Indexed Clusters".
Bitmap and bitmap join indexes
In a bitmap index, an index entry uses a bitmap to point to multiple rows. In contrast, a B-tree index entry points to a single row. A bitmap join index is a bitmap index for the join of two or more tables. See "Bitmap Indexes".
Function-based indexes
This type of index includes columns that are either transformed by a function, such as the UPPER function, or included in an expression. B-tree or bitmap indexes can be function-based. See "Function-Based Indexes".
Application domain indexes
This type of index is created by a user for data in an application-specific domain. The physical index need not use a traditional index structure and can be stored either in the Oracle database as tables or externally as a file. See "Application Domain Indexes".
See Also:
Oracle Database Performance Tuning Guide to learn about different index typesB-trees, short for balanced trees, are the most common type of database index. A B-tree index is an ordered list of values divided into ranges. By associating a key with a row or range of rows, B-trees provide excellent retrieval performance for a wide range of queries, including exact match and range searches.
Figure 3-1 illustrates the structure of a B-tree index. The example shows an index on the department_id column, which is a foreign key column in the employees table.
Figure 3-1 Internal Structure of a B-tree Index

A B-tree index has two types of blocks: branch blocks for searching and leaf blocks that store values. The upper-level branch blocks of a B-tree index contain index data that points to lower-level index blocks. In Figure 3-1, the root branch block has an entry 0-40, which points to the leftmost block in the next branch level. This branch block contains entries such as 0-10 and 11-19. Each of these entries points to a leaf block that contains key values that fall in the range.
A B-tree index is balanced because all leaf blocks automatically stay at the same depth. Thus, retrieval of any record from anywhere in the index takes approximately the same amount of time. The height of the index is the number of block required to go from the root block to a leaf block. The branch level is the height minus 1. In Figure 3-1, the index has a height of 3 and a branch level of 2.
Branch blocks store the minimum key prefix needed to make a branching decision between two keys. This technique enables the database to fit as much data as possible on each branch block. The branch blocks contain a pointer to the child block containing the key. The number of keys and pointers is limited by the block size.
The leaf blocks contain every indexed data value and a corresponding rowid used to locate the actual row. Each entry is sorted by (key, rowid). Within a leaf block, a key and rowid is linked to its left and right sibling entries. The leaf blocks themselves are also doubly linked. In Figure 3-1 the leftmost leaf block (0-10) is linked to the second leaf block (11-19).
Note:
Indexes in columns with character data are based on the binary values of the characters in the database character set.In an index scan, the database retrieves a row by traversing the index, using the indexed column values specified by the statement. If the database scans the index for a value, then it will find this value in n I/Os where n is the height of the B-tree index. This is the basic principle behind Oracle Database indexes.
If a SQL statement accesses only indexed columns, then the database reads values directly from the index rather than from the table. If the statement accesses columns in addition to the indexed columns, then the database uses rowids to find the rows in the table. Typically, the database retrieves table data by alternately reading an index block and then a table block.
See Also:
Oracle Database Performance Tuning Guide for detailed information about index scansIn a full index scan, the database reads the entire index in order. A full index scan is available if a predicate (WHERE clause) in the SQL statement references a column in the index, and in some circumstances when no predicate is specified. A full scan can eliminate sorting because the data is ordered by index key.
Suppose that an application runs the following query:
SELECT department_id, last_name, salary FROM employees WHERE salary > 5000 ORDER BY department_id, last_name;
Also assume that department_id, last_name, and salary are a composite key in an index. Oracle Database performs a full scan of the index, reading it in sorted order (ordered by department ID and last name) and filtering on the salary attribute. In this way, the database scans a set of data smaller than the employees table, which contains more columns than are included in the query, and avoids sorting the data.
For example, the full scan could read the index entries as follows:
50,Atkinson,2800,rowid 60,Austin,4800,rowid 70,Baer,10000,rowid 80,Abel,11000,rowid 80,Ande,6400,rowid 110,Austin,7200,rowid . . .
A fast full index scan is a full index scan in which the database reads the index blocks in no particular order. The database accesses the data in the index itself, without accessing the table.
Fast full index scans are an alternative to a full table scan when the index contains all the columns that are needed for the query, and at least one column in the index key has the NOT NULL constraint.
For example, an application issues the following query, which does not include an ORDER BY clause:
SELECT last_name, salary FROM employees;
If the last name and salary are a composite key in an index, then a fast full index scan can read the index entries to obtain the requested information:
Baida,2900,rowid Zlotkey,10500,rowid Austin,7200,rowid Baer,10000,rowid Atkinson,2800,rowid Austin,4800,rowid . . .
An index range scan is an ordered scan of an index that has the following characteristics:
One or more leading columns of an index are specified in conditions. A condition specifies a combination of one or more expressions and logical (Boolean) operators and returns a value of TRUE, FALSE, or UNKNOWN.
0, 1, or more values are possible for an index key.
The database commonly uses an index range scan to access selective data. The selectivity is the percentage of rows in the table that the query selects. A query that selects a small percentage of rows has good selectivity, whereas a query that selects a large percentage of rows has poor selectivity. Selectivity is tied to a query predicate, such as WHERE last_name LIKE 'A%', or a combination of predicates.
For example, a user queries employees whose last names begin with A. Assume that the last_name column is indexed, with entries as follows:
Abel,rowid Ande,rowid Atkinson,rowid Austin,rowid Austin,rowid Baer,rowid . . .
The database could use a range scan because the last_name column is specified in the predicate and multiples rowids are possible for each index key. For example, two employees are named Austin, so two rowids are associated with the key Austin.
An index range scan can be bounded on both sides, as in a query for departments with IDs between 10 and 40, or bounded on only one side, as in a query for IDs over 40. To scan the index, the database moves backward or forward through the leaf blocks. For example, a scan for IDs between 10 and 40 locates the first index leaf block that contains the lowest key value that is 10 or greater. The scan then proceeds horizontally through the linked list of leaf nodes until it locates a value greater than 40.
In contrast to an index range scan, an index unique scan must have either 0 or 1 rowid associated with an index key. The database performs a unique scan when a predicate references all of the columns in a UNIQUE index key using an equality operator. An index unique scan stops processing as soon as it finds the first record because no second record is possible.
As an illustration, suppose that a user runs the following query:
SELECT * FROM employees WHERE employee_id = 5;
Assume that the employee_id column is the primary key and is indexed with entries as follows:
1,rowid 2,rowid 4,rowid 5,rowid 6,rowid . . .
In this case, the database can use an index unique scan to locate the rowid for the employee whose ID is 5.
An index skip scan uses logical subindexes of a composite index. The database "skips" through a single index as if it were searching separate indexes. Skip scanning is beneficial if there are few distinct values in the leading column of a composite index and many distinct values in the nonleading key of the index.
The database may choose an index skip scan when the leading column of the composite index is not specified in a query predicate. For example, assume that you run the following query for a customer in the sh.customers table:
SELECT * FROM sh.customers WHERE cust_email = 'Abbey@company.com';
The customers table has a column cust_gender whose values are either M or F. Assume that a composite index exists on the columns (cust_gender, cust_email). Example 3-1 shows a portion of the index entries.
Example 3-1 Composite Index Entries
F,Wolf@company.com,rowid F,Wolsey@company.com,rowid F,Wood@company.com,rowid F,Woodman@company.com,rowid F,Yang@company.com,rowid F,Zimmerman@company.com,rowid M,Abbassi@company.com,rowid M,Abbey@company.com,rowid
The database can use a skip scan of this index even though cust_gender is not specified in the WHERE clause.
In a skip scan, the number of logical subindexes is determined by the number of distinct values in the leading column. In Example 3-1, the leading column has two possible values. The database logically splits the index into one subindex with the key F and a second subindex with the key M.
When searching for the record for the customer whose email is Abbey@company.com, the database searches the subindex with the value F first and then searches the subindex with the value M. Conceptually, the database processes the query as follows:
SELECT * FROM sh.customers WHERE cust_gender = 'F' AND cust_email = 'Abbey@company.com' UNION ALL SELECT * FROM sh.customers WHERE cust_gender = 'M' AND cust_email = 'Abbey@company.com';
See Also:
Oracle Database Performance Tuning Guide to learn more about skip scansA reverse key index is a type of B-tree index that physically reverses the bytes of each index key while keeping the column order. For example, if the index key is 20, and if the two bytes stored for this key in hexadecimal are C1,15 in a standard B-tree index, then a reverse key index stores the bytes as 15,C1.
Reversing the key solves the problem of contention for leaf blocks in the right side of a B-tree index. This problem can be especially acute in an Oracle Real Application Clusters (Oracle RAC) database in which multiple instances repeatedly modify the same block. For example, in an orders table the primary keys for orders are sequential. One instance in the cluster adds order 20, while another adds 21, with each instance writing its key to the same leaf block on the right-hand side of the index.
In a reverse key index, the reversal of the byte order distributes inserts across all leaf keys in the index. For example, keys such as 20 and 21 that would have been adjacent in a standard key index are now stored far apart in separate blocks. Thus, I/O for insertions of sequential keys is more evenly distributed.
Because the data in the index is not sorted by column key when it is stored, the reverse key arrangement eliminates the ability to run an index range scanning query in some cases. For example, if a user issues a query for order IDs greater than 20, then the database cannot start with the block containing this ID and proceed horizontally through the leaf blocks.
See Also:
Oracle Database Performance Tuning Guide to learn about design considerations for reverse key indexesIn an ascending index, Oracle Database stores data in ascending order. By default, character data is ordered by the binary values contained in each byte of the value, numeric data from smallest to largest number, and date from earliest to latest value.
For an example of an ascending index, consider the following SQL statement:
CREATE INDEX emp_deptid_ix ON hr.employees(department_id);
Oracle Database sorts the hr.employees table on the department_id column. It loads the ascending index with the department_id and corresponding rowid values in ascending order, starting with 0. When it uses the index, Oracle Database searches the sorted department_id values and uses the associated rowids to locate rows having the requested department_id value.
By specifying the DESC keyword in the CREATE INDEX statement, you can create a descending index. In this case, the index stores data on a specified column or columns in descending order. If the index in Figure 3-1 on the employees.department_id column were descending, then the leaf blocking containing 250 would be on the left side of the tree and block with 0 on the right. The default search through a descending index is from highest to lowest value.
Descending indexes are useful when a query sorts some columns ascending and others descending. For an example, assume that you create a composite index on the last_name and department_id columns as follows:
CREATE INDEX emp_name_dpt_ix ON hr.employees(last_name ASC, department_id DESC);
If a user queries hr.employees for last names in ascending order (A to Z) and department IDs in descending order (high to low), then the database can use this index to retrieve the data and avoid the extra step of sorting it.
See Also:
Oracle Database Performance Tuning Guide to learn more about ascending and descending index searches
Oracle Database SQL Language Reference for descriptions of the ASC and DESC options of CREATE INDEX
Oracle Database can use key compression to compress portions of the primary key column values in a B-tree index or an index-organized table. Key compression can greatly reduce the space consumed by the index.
In general, index keys have two pieces, a grouping piece and a unique piece. Key compression breaks the index key into a prefix entry, which is the grouping piece, and a suffix entry, which is the unique or nearly unique piece. The database achieves compression by sharing the prefix entries among the suffix entries in an index block.
Note:
If a key is not defined to have a unique piece, then the database provides one by appending a rowid to the grouping piece.By default, the prefix of a unique index consists of all key columns excluding the last one, whereas the prefix of a nonunique index consists of all key columns. For example, suppose that you create a composite index on the oe.orders table as follows:
CREATE INDEX orders_mod_stat_ix ON orders ( order_mode, order_status );
Many repeated values occur in the order_mode and order_status columns. An index block may have entries as shown in Example 3-2.
Example 3-2 Index Entries in Orders Table
online,0,AAAPvCAAFAAAAFaAAa online,0,AAAPvCAAFAAAAFaAAg online,0,AAAPvCAAFAAAAFaAAl online,2,AAAPvCAAFAAAAFaAAm online,3,AAAPvCAAFAAAAFaAAq online,3,AAAPvCAAFAAAAFaAAt
In Example 3-2, the key prefix would consist of a concatenation of the order_mode and order_status values. If this index were created with default key compression, then duplicate key prefixes such as online,0 and online,2 would be compressed. Conceptually, the database achieves compression as shown in the following example:
online,0 AAAPvCAAFAAAAFaAAa AAAPvCAAFAAAAFaAAg AAAPvCAAFAAAAFaAAl online,2 AAAPvCAAFAAAAFaAAm online,3 AAAPvCAAFAAAAFaAAq AAAPvCAAFAAAAFaAAt
Suffix entries form the compressed version of index rows. Each suffix entry references a prefix entry, which is stored in the same index block as the suffix entry.
Alternatively, you could specify a prefix length when creating a compressed index. For example, if you specified prefix length 1, then the prefix would be order_mode and the suffix would be order_status,rowid. For the values in Example 3-2, the index would factor out duplicate occurrences of online as follows:
online 0,AAAPvCAAFAAAAFaAAa 0,AAAPvCAAFAAAAFaAAg 0,AAAPvCAAFAAAAFaAAl 2,AAAPvCAAFAAAAFaAAm 3,AAAPvCAAFAAAAFaAAq 3,AAAPvCAAFAAAAFaAAt
The index stores a specific prefix once per leaf block at most. Only keys in the leaf blocks of a B-tree index are compressed. In the branch blocks the key suffix can be truncated, but the key is not compressed.
See Also:
Oracle Database Administrator's Guide to learn how to use compressed indexes
Oracle Database VLDB and Partitioning Guide to learn how to use key compression for partitioned indexes
Oracle Database SQL Language Reference for descriptions of the key_compression clause of CREATE INDEX
In a bitmap index, the database stores a bitmap for each index key. In a conventional B-tree index, one index entry points to a single row. In a bitmap index, each index key stores pointers to multiple rows.
Bitmap indexes are primarily designed for data warehousing or environments in which queries reference many columns in an ad hoc fashion. Situations that may call for a bitmap index include:
The indexed columns have low cardinality, that is, the number of distinct values is small compared to the number of table rows.
The indexed table is either read-only or not subject to significant modification by DML statements.
For a data warehouse example, the sh.customer table has a cust_gender column with only two possible values: M and F. Suppose that queries for the number of customers of a particular gender are common. In this case, the customer.cust_gender column would be a candidate for a bitmap index.
Each bit in the bitmap corresponds to a possible rowid. If the bit is set, then the row with the corresponding rowid contains the key value. A mapping function converts the bit position to an actual rowid, so the bitmap index provides the same functionality as a B-tree index although it uses a different internal representation.
If the indexed column in a single row is updated, then the database locks the index key entry (for example, M or F) and not the individual bit mapped to the updated row. Because a key points to many rows, DML on indexed data typically locks all of these rows. For this reason, bitmap indexes are not appropriate for many OLTP applications.
See Also:
Oracle Database Performance Tuning Guide to learn how to use bitmap indexes for performance
Oracle Database Data Warehousing Guide to learn how to use bitmap indexes in a data warehouse
Example 3-3 shows a query of the sh.customers table. Some columns in this table are candidates for a bitmap index.
Example 3-3 Query of customers Table
SQL> SELECT cust_id, cust_last_name, cust_marital_status, cust_gender
2 FROM sh.customers
3 WHERE ROWNUM < 8 ORDER BY cust_id;
CUST_ID CUST_LAST_ CUST_MAR C
---------- ---------- -------- -
1 Kessel M
2 Koch F
3 Emmerson M
4 Hardy M
5 Gowen M
6 Charles single F
7 Ingram single F
7 rows selected.
The cust_marital_status and cust_gender columns have low cardinality, whereas cust_id and cust_last_name do not. Thus, bitmap indexes may be appropriate on cust_marital_status and cust_gender. A bitmap index is probably not useful for the other columns. Instead, a unique B-tree index on these columns would likely provide the most efficient representation and retrieval.
Table 3-1 illustrates the bitmap index for the cust_gender column output shown in Example 3-3. It consists of two separate bitmaps, one for each gender.
Table 3-1 Sample Bitmap
| Value | Row 1 | Row 2 | Row 3 | Row 4 | Row 5 | Row 6 | Row 7 |
|---|---|---|---|---|---|---|---|
|
|
1 |
0 |
1 |
1 |
1 |
0 |
0 |
|
|
0 |
1 |
0 |
0 |
0 |
1 |
1 |
A mapping function converts each bit in the bitmap to a rowid of the customers table. Each bit value depends on the values of the corresponding row in the table. For example, the bitmap for the M value contains a 1 as its first bit because the gender is M in the first row of the customers table. The bitmap cust_gender='M' has a 0 for its the bits in rows 2, 6, and 7 because these rows do not contain M as their value.
Note:
Bitmap indexes can include keys that consist entirely of null values, unlike B-tree indexes. Indexing nulls can be useful for some SQL statements, such as queries with the aggregate functionCOUNT.An analyst investigating demographic trends of the customers may ask, "How many of our female customers are single or divorced?" This question corresponds to the following SQL query:
SELECT COUNT(*)
FROM customers
WHERE cust_gender = 'F'
AND cust_marital_status IN ('single', 'divorced');
Bitmap indexes can process this query efficiently by counting the number of 1 values in the resulting bitmap, as illustrated in Table 3-2. To identify the customers who satisfy the criteria, Oracle Database can use the resulting bitmap to access the table.
Table 3-2 Sample Bitmap
| Value | Row 1 | Row 2 | Row 3 | Row 4 | Row 5 | Row 6 | Row 7 |
|---|---|---|---|---|---|---|---|
|
|
1 |
0 |
1 |
1 |
1 |
0 |
0 |
|
|
0 |
1 |
0 |
0 |
0 |
1 |
1 |
|
|
0 |
0 |
0 |
0 |
0 |
1 |
1 |
|
|
0 |
0 |
0 |
0 |
0 |
0 |
0 |
|
|
0 |
0 |
0 |
0 |
0 |
1 |
1 |
Bitmap indexing efficiently merges indexes that correspond to several conditions in a WHERE clause. Rows that satisfy some, but not all, conditions are filtered out before the table itself is accessed. This technique improves response time, often dramatically.
A bitmap join index is a bitmap index for the join of two or more tables. For each value in a table column, the index stores the rowid of the corresponding row in the indexed table. In contrast, a standard bitmap index is created on a single table.
A bitmap join index is an efficient means of reducing the volume of data that must be joined by performing restrictions in advance. For an example of when a bitmap join index would be useful, assume that users often query the number of employees with a particular job type. A typical query might look as follows:
SELECT COUNT(*) FROM employees, jobs WHERE employees.job_id = jobs.job_id AND jobs.job_title = 'Accountant';
The preceding query would typically use an index on jobs.job_title to retrieve the rows for Accountant and then the job ID, and an index on employees.job_id to find the matching rows. To retrieve the data from the index itself rather than from a scan of the tables, you could create a bitmap join index as follows:
CREATE BITMAP INDEX employees_bm_idx ON employees (jobs.job_title) FROM employees, jobs WHERE employees.job_id = jobs.job_id;
As illustrated in Figure 3-2, the index key is jobs.job_title and the indexed table is employees.
Conceptually, employees_bm_idx is an index of the jobs.title column in the SQL query shown in Example 3-4 (sample output included). The job_title key in the index points to rows in the employees table. A query of the number of accountants can use the index to avoid accessing the employees and jobs tables because the index itself contains the requested information.
Example 3-4 Join of employees and jobs Tables
SELECT jobs.job_title AS "jobs.job_title", employees.rowid AS "employees.rowid" FROM employees, jobs WHERE employees.job_id = jobs.job_id ORDER BY job_title; jobs.job_title employees.rowid ----------------------------------- ------------------ Accountant AAAQNKAAFAAAABSAAL Accountant AAAQNKAAFAAAABSAAN Accountant AAAQNKAAFAAAABSAAM Accountant AAAQNKAAFAAAABSAAJ Accountant AAAQNKAAFAAAABSAAK Accounting Manager AAAQNKAAFAAAABTAAH Administration Assistant AAAQNKAAFAAAABTAAC Administration Vice President AAAQNKAAFAAAABSAAC Administration Vice President AAAQNKAAFAAAABSAAB . . .
In a data warehouse, the join condition is an equijoin (it uses the equality operator) between the primary key columns of the dimension tables and the foreign key columns in the fact table. Bitmap join indexes are sometimes much more efficient in storage than materialized join views, an alternative for materializing joins in advance.
See Also:
Oracle Database Data Warehousing Guide for more information on bitmap join indexesOracle Database uses a B-tree index structure to store bitmaps for each indexed key. For example, if jobs.job_title is the key column of a bitmap index, then the index data is stored in one B-tree. The individual bitmaps are stored in the leaf blocks.
Assume that the jobs.job_title column has unique values Shipping Clerk, Stock Clerk, and several others. A bitmap index entry for this index has the following components:
The job title as the index key
A low rowid and high rowid for a range of rowids
A bitmap for specific rowids in the range
Conceptually, an index leaf block in this index could contain entries as follows:
Shipping Clerk,AAAPzRAAFAAAABSABQ,AAAPzRAAFAAAABSABZ,0010000100 Shipping Clerk,AAAPzRAAFAAAABSABa,AAAPzRAAFAAAABSABh,010010 Stock Clerk,AAAPzRAAFAAAABSAAa,AAAPzRAAFAAAABSAAc,1001001100 Stock Clerk,AAAPzRAAFAAAABSAAd,AAAPzRAAFAAAABSAAt,0101001001 Stock Clerk,AAAPzRAAFAAAABSAAu,AAAPzRAAFAAAABSABz,100001 . . .
The same job title appears in multiple entries because the rowid range differs.
Assume that a session updates the job ID of one employee from Shipping Clerk to Stock Clerk. In this case, the session requires exclusive access to the index key entry for the old value (Shipping Clerk) and the new value (Stock Clerk). Oracle Database locks the rows pointed to by these two entries—but not the rows pointed to by Accountant or any other key—until the UPDATE commits.
The data for a bitmap index is stored in one segment. Oracle Database stores each bitmap in one or more pieces. Each piece occupies part of a single data block.
See Also:
"User Segments"You can create indexes on functions and expressions that involve one or more columns in the table being indexed. A function-based index computes the value of a function or expression involving one or more columns and stores it in the index. A function-based index can be either a B-tree or a bitmap index.
The function used for building the index can be an arithmetic expression or an expression that contains a SQL function, user-defined PL/SQL function, package function, or C callout. For example, a function could add the values in two columns.
See Also:
Oracle Database Administrator's Guide to learn how to create function-based indexes
Oracle Database Performance Tuning Guide for more information about using function-based indexes
Oracle Database SQL Language Reference for restrictions and usage notes for function-based indexes
Function-based indexes are efficient for evaluating statements that contain functions in their WHERE clauses. The database only uses the function-based index when the function is included in a query. When the database processes INSERT and UPDATE statements, however, it must still evaluate the function to process the statement.
For example, suppose you create the following function-based index:
CREATE INDEX emp_total_sal_idx
ON employees (12 * salary * commission_pct, salary, commission_pct);
The database can use the preceding index when processing queries such as Example 3-5 (partial sample output included).
Example 3-5 Query Containing an Arithmetic Expression
SELECT employee_id, last_name, first_name,
12*salary*commission_pct AS "ANNUAL SAL"
FROM employees
WHERE (12 * salary * commission_pct) < 30000
ORDER BY "ANNUAL SAL" DESC;
EMPLOYEE_ID LAST_NAME FIRST_NAME ANNUAL SAL
----------- ------------------------- -------------------- ----------
159 Smith Lindsey 28800
151 Bernstein David 28500
152 Hall Peter 27000
160 Doran Louise 27000
175 Hutton Alyssa 26400
149 Zlotkey Eleni 25200
169 Bloom Harrison 24000
Function-based indexes defined on the SQL functions UPPER(column_name) or LOWER(column_name) facilitate case-insensitive searches. For example, suppose that the first_name column in employees contains mixed-case characters. You create the following function-based index on the hr.employees table:
CREATE INDEX emp_fname_uppercase_idx ON employees ( UPPER(first_name) );
The emp_fname_uppercase_idx index can facilitate queries such as the following:
SELECT * FROM employees WHERE UPPER(first_name) = 'AUDREY';
A function-based index is also useful for indexing only specific rows in a table. For example, the cust_valid column in the sh.customers table has either I or A as a value. To index only the A rows, you could write a function that returns a null value for any rows other than the A rows. You could create the index as follows:
CREATE INDEX cust_valid_idx ON customers ( CASE cust_valid WHEN 'A' THEN 'A' END );
See Also:
Oracle Database Globalization Support Guide for information about linguistic indexes
Oracle Database SQL Language Reference to learn more about SQL functions
The optimizer can use an index range scan on a function-based index for queries with expressions in WHERE clause. The range scan access path is especially beneficial when the predicate (WHERE clause) has low selectivity. In Example 3-5 the optimizer can use an index range scan if an index is built on the expression 12*salary*commission_pct.
A virtual column is useful for speeding access to data derived from expressions. For example, you could define virtual column annual_sal as 12*salary*commission_pct and create a function-based index on annual_sal.
The optimizer performs expression matching by parsing the expression in a SQL statement and then comparing the expression trees of the statement and the function-based index. This comparison is case-insensitive and ignores blank spaces.
See Also:
Oracle Database Performance Tuning Guide for more information about gathering statistics
Oracle Database Administrator's Guide to learn how to add virtual columns to a table
An application domain index is a customized index specific to an application. Oracle Database provides extensible indexing to do the following:
Accommodate indexes on customized, complex data types such as documents, spatial data, images, and video clips (see "Unstructured Data")
Make use of specialized indexing techniques
You can encapsulate application-specific index management routines as an indextype schema object and define a domain index on table columns or attributes of an object type. Extensible indexing can efficiently process application-specific operators.
The application software, called the cartridge, controls the structure and content of a domain index. The database interacts with the application to build, maintain, and search the domain index. The index structure itself can be stored in the database as an index-organized table or externally as a file.
See Also:
Oracle Database Data Cartridge Developer's Guide for information about using data cartridges within the Oracle Database extensibility architectureOracle Database stores index data in an index segment. Space available for index data in a data block is the data block size minus block overhead, entry overhead, rowid, and one length byte for each value indexed.
The tablespace of an index segment is either the default tablespace of the owner or a tablespace specifically named in the CREATE INDEX statement. For ease of administration you can store an index in a separate tablespace from its table. For example, you may choose not to back up tablespaces containing only indexes, which can be rebuilt, and so decrease the time and storage required for backups.
See Also:
Chapter 12, "Logical Storage Structures"An index-organized table is a table stored in a variation of a B-tree index structure. In a heap-organized table, rows are inserted where they fit. In an index-organized table, rows are stored in an index defined on the primary key for the table. Each index entry in the B-tree also stores the non-key column values. Thus, the index is the data, and the data is the index. Applications manipulate index-organized tables just like heap-organized tables, using SQL statements.
For an analogy of an index-organized table, suppose a human resources manager has a bookcase of cardboard boxes. Each box is labeled with a number—1, 2, 3, 4, and so on—but the boxes do not sit on the shelves in sequential order. Instead, each box contains a pointer to the shelf location of the next box in the sequence.
Folders containing employee records are stored in each box. The folders are sorted by employee ID. Employee King has ID 100, which is the lowest ID, so his folder is at the bottom of box 1. The folder for employee 101 is on top of 100, 102 is on top of 101, and so on until box 1 is full. The next folder in the sequence is at the bottom of box 2.
In this analogy, ordering folders by employee ID makes it possible to search efficiently for folders without having to maintain a separate index. Suppose a user requests the records for employees 107, 120, and 122. Instead of searching an index in one step and retrieving the folders in a separate step, the manager can search the folders in sequential order and retrieve each folder as found.
Index-organized tables provide faster access to table rows by primary key or a valid prefix of the key. The presence of non-key columns of a row in the leaf block avoids an additional data block I/O. For example, the salary of employee 100 is stored in the index row itself. Also, because rows are stored in primary key order, range access by the primary key or prefix involves minimal block I/Os. Another benefit is the avoidance of the space overhead of a separate primary key index.
Index-organized tables are useful when related pieces of data must be stored together or data must be physically stored in a specific order. This type of table is often used for information retrieval, spatial (see "Overview of Oracle Spatial"), and OLAP applications (see "OLAP").
See Also:
Oracle Database Administrator's Guide to learn how to manage index-organized tables
Oracle Database Performance Tuning Guide to learn how to use index-organized tables to improve performance
Oracle Database SQL Language Reference for CREATE TABLE ... ORGANIZATION INDEX syntax and semantics
The database system performs all operations on index-organized tables by manipulating the B-tree index structure. Table 3-3 summarizes the differences between index-organized tables and heap-organized tables.
Table 3-3 Comparison of Heap-Organized Tables with Index-Organized Tables
| Heap-Organized Table | Index-Organized Table |
|---|---|
|
The rowid uniquely identifies a row. Primary key constraint may optionally be defined. |
Primary key uniquely identifies a row. Primary key constraint must be defined. |
|
Physical rowid in |
Logical rowid in |
|
Individual rows may be accessed directly by rowid. |
Access to individual rows may be achieved indirectly by primary key. |
|
Sequential full table scan returns all rows in some order. |
A full index scan or fast full index scan returns all rows in some order. |
|
Can be stored in a table cluster with other tables. |
Cannot be stored in a table cluster. |
|
Can contain a column of the |
Can contain LOB columns but not |
|
Can contain virtual columns (only relational heap tables are supported). |
Cannot contain virtual columns. |
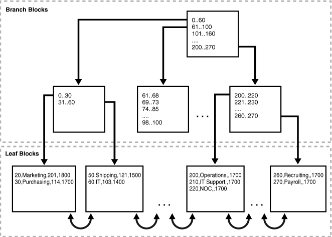
Figure 3-3 illustrates the structure of an index-organized departments table. The leaf blocks contain the rows of the table, ordered sequentially by primary key. For example, the first value in the first leaf block shows a department ID of 20, department name of Marketing, manager ID of 201, and location ID of 1800.
An index-organized table stores all data in the same structure and does not need to store the rowid. As shown in Figure 3-3, leaf block 1 in an index-organized table might contain entries as follows, ordered by primary key:
20,Marketing,201,1800 30,Purchasing,114,1700
Leaf block 2 in an index-organized table might contain entries as follows:
50,Shipping,121,1500 60,IT,103,1400
A scan of the index-organized table rows in primary key order reads the blocks in the following sequence:
Block 1
Block 2
To contrast data access in a heap-organized table to an index-organized table, suppose block 1 of a heap-organized departments table segment contains rows as follows:
50,Shipping,121,1500 20,Marketing,201,1800
Block 2 contains rows for the same table as follows:
30,Purchasing,114,1700 60,IT,103,1400
A B-tree index leaf block for this heap-organized table contains the following entries, where the first value is the primary key and the second is the rowid:
20,AAAPeXAAFAAAAAyAAD 30,AAAPeXAAFAAAAAyAAA 50,AAAPeXAAFAAAAAyAAC 60,AAAPeXAAFAAAAAyAAB
A scan of the table rows in primary key order reads the table segment blocks in the following sequence:
Block 1
Block 2
Block 1
Block 2
Thus, the number of block I/Os in this example is double the number in the index-organized example.
When creating an index-organized table, you can specify a separate segment as a row overflow area. In index-organized tables, B-tree index entries can be large because they contain an entire row, so a separate segment to contain the entries is useful. In contrast, B-tree entries are usually small because they consist of the key and rowid.
If a row overflow area is specified, then the database can divide a row in an index-organized table into the following parts:
The index entry
This part contains column values for all the primary key columns, a physical rowid that points to the overflow part of the row, and optionally a few of the non-key columns. This part is stored in the index segment.
The overflow part
This part contains column values for the remaining non-key columns. This part is stored in the overflow storage area segment.
See Also:
Oracle Database Administrator's Guide to learn how to use the OVERFLOW clause of CREATE TABLE to set a row overflow area
Oracle Database SQL Language Reference for CREATE TABLE ... OVERFLOW syntax and semantics
A secondary index is an index on an index-organized table. In a sense, it is an index on an index. The secondary index is an independent schema object and is stored separately from the index-organized table.
As explained in "Rowid Data Types", Oracle Database uses row identifiers called logical rowids for index-organized tables. A logical rowid is a base64-encoded representation of the table primary key. The logical rowid length depends on the primary key length.
Rows in index leaf blocks can move within or between blocks because of insertions. Rows in index-organized tables do not migrate as heap-organized rows do (see "Chained and Migrated Rows"). Because rows in index-organized tables do not have permanent physical addresses, the database uses logical rowids based on primary key.
For example, assume that the departments table is index-organized. The location_id column stores the ID of each department. The table stores rows as follows, with the last value as the location ID:
10,Administration,200,1700 20,Marketing,201,1800 30,Purchasing,114,1700 40,Human Resources,203,2400
A secondary index on the location_id column might have index entries as follows, where the value following the comma is the logical rowid:
1700,*BAFAJqoCwR/+ 1700,*BAFAJqoCwQv+ 1800,*BAFAJqoCwRX+ 2400,*BAFAJqoCwSn+
Secondary indexes provide fast and efficient access to index-organized tables using columns that are neither the primary key nor a prefix of the primary key. For example, a query of the names of departments whose ID is greater than 1700 could use the secondary index to speed data access.
See Also:
Oracle Database Administrator's Guide to learn how to create secondary indexes on an index-organized table
Oracle Database VLDB and Partitioning Guide to learn about creating secondary indexes on indexed-organized table partitions
Secondary indexes use the logical rowids to locate table rows. A logical rowid includes a physical guess, which is the physical rowid of the index entry when it was first made. Oracle Database can use physical guesses to probe directly into the leaf block of the index-organized table, bypassing the primary key search. When the physical location of a row changes, the logical rowid remains valid even if it contains a physical guess that is stale.
For a heap-organized table, access by a secondary index involves a scan of the secondary index and an additional I/O to fetch the data block containing the row. For index-organized tables, access by a secondary index varies, depending on the use and accuracy of physical guesses:
Without physical guesses, access involves two index scans: a scan of the secondary index followed by a scan of the primary key index.
With physical guesses, access depends on their accuracy:
With accurate physical guesses, access involves a secondary index scan and an additional I/O to fetch the data block containing the row.
With inaccurate physical guesses, access involves a secondary index scan and an I/O to fetch the wrong data block (as indicated by the guess), followed by an index unique scan of the index organized table by primary key value.
A secondary index on an index-organized table can be a bitmap index. As explained in "Bitmap Indexes", a bitmap index stores a bitmap for each index key.
When bitmap indexes exist on an index-organized table, all the bitmap indexes use a heap-organized mapping table. The mapping table stores the logical rowids of the index-organized table. Each mapping table row stores one logical rowid for the corresponding index-organized table row.
The database accesses a bitmap index using a search key. If the database finds the key, then the bitmap entry is converted to a physical rowid. With heap-organized tables, the database uses the physical rowid to access the base table. With index-organized tables, the database uses the physical rowid to access the mapping table, which in turn yields a logical rowid that the database uses to access the index-organized table.
Note:
Movement of rows in an index-organized table does not leave the bitmap indexes built on that index-organized table unusable.See Also:
"Rowids of Row Pieces"